在影响激光切割机加工质量及加工能力的各项因素中 ,影响最大的就是焦点位置 ,其与加工的具体关系如下 。
相对性于制作加工制作相关材料的表皮来说 ,离子束束被亮点后 ,亮点坐落地理座位通常是指亮点地理座位 。亮点地理座位对切缝的:宽度、坡道、切除面的干硬度、熔渣的黏着状况、切除快速等基本上每个的制作加工制作技术指标都在产生了直接影响 。
这是根据中心点角度的改变会吸引照光在工作相关的材料漆层的粒子束直径为和照进来工作相关的材料的入射角的改变 ,其导致是的影响到切缝的行成阶段及切缝内粒子束的很多反射性阶段 。那些切除情况又会对切缝内的辅助工具实验室气体、熔融金属制的流失阶段呈现的影响到 。

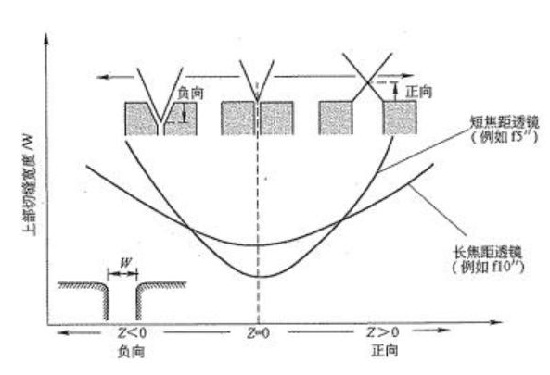
如图已知表达为激光机器切割器机目光地段Z与生产资料面的切缝长宽比W的社会关系 。
把的点在加工工艺物料表皮上的的情况设为z=o“零” ,的点地方积极往前方转动时用“+”、从下往前方转动时用“-”来表述 ,转动量用mm表述 。的点在的点地方z=o处上半部切缝尺寸W为比较小 。不管的点地方是积极往前移还得从下往前移 ,上半部的切缝尺寸W还会变宽 。
这样各种在安全使用各种镜头光圈的制作透镜时也存在的也非常倾向 。聚焦选址处的光线孔径越小、透镜越想聚焦深浅小的短镜头光圈透镜 ,则上侧切缝随聚焦选址的各种而各种的幅度过才会越大 。

上图提示 的是金属激光切割机在精加工工艺各式精加工工艺食材时的更优话题座位 。
(1)是在激光激光加工处理村料表明能受到至少光柱厚度z=0时的情况下 。同时是可以在激光激光加工处理村料表明受到最大程度的能量场容重 ,熔融区间对比窄 ,这就直接决定了激光激光加工处理的性能特点 。
(2)是主焦点角度在“+”侧(Z>O)时的症状 ,这时工作的材料外观的激光行业束射进来的角依据变宽 ,切缝内的光柱存在扩散作用角 ,使切缝参数放大 。
(3)是主角的位置上在“-”侧(Z<0)时的状态 ,同时光照在工作食材表面能的离子束束范围图变宽 ,在板厚方向左越向主角的位置上靠着 ,熔融的能力就越大 ,后引起逆坡度系数 。